Skip to main content
Til toppen

Her viser vi en forenklet beskrivelse av hvordan du installerer Lewmar baugpropell. Prinsippet vil være det samme for andre fabrikater. Sjekk alltid brukermanualen for baugpropellen du skal installere og følg stegene i manualen nøye.

Kjøpshjelp montering av baugpropell

Les manualen til baugpropellen nøye og gjør deg kjent med produktet. Planlegg installasjonen godt på forhånd.

Sørg for at du grundig forstår driften av og sikkerhetskravene til thrusteren før du starter installasjonen. Kun personer som er fullstendig kjent med kontrollene og de som har blitt fullstendig klar over riktig bruk av thrusteren bør få lov til å bruke den. Hvis det er tvil om hvordan du skal installere eller bruke enheten, søk råd fra en kvalifisert montør.

  • Thrusteren må installeres og brukes i samsvar med instruksjonene i brukermanualen, hvis ikke kan det føre til dårlig produktytelse, personskade og/eller skade på båten.
  • Thruster må installeres i et tørt miljø om bord.
  • Elektriske baugpropeller bruker kraftige elektriske motorer, det er veldig viktig at det er tilstrekkelig med batterikapasitet og store nok kabler for sikker drift. Bruk av mindre batteri og kabler enn anbefalt vil gi dårligere ytelse og kan forårsake farlig overoppheting
  • Thrusteren må ikke monteres i rom der gnister og høy varme medfører brannfare
  • Hovedbatteri må ikke kobles til og strømmen må ikke slås på før alle deksler og terminalbeskyttelser er riktig montert
  • Ikke kjør thrusteren når båten ikke er i vann, selv ikke i få sekunder. Motoren vil da få for høyt turtall og fører til skader på motor. 

Finn egnet monteringsplass

Best egnet monteringsplass vil avhenge av båtens konstruksjon, men for optimal prestasjon bør thrusteren monteres så lang frem i baugen som mulig. Dette for å oppnå mest mulig moment rundt båtens dreiepunkt. Den bør også plasseres så dypt som mulig under vannlinje for å unngå at luft suges ned i tunnelen og for å øke vanntrykket slik at propellen jobber mer effektivt. Minimum anbefalt monteringsdybde er 0,75 x diameter på tunnel, optimal plassering er 1 x diameter.
 

Minimum anbefalt tunnellengde er 2 x tunneldiameter. For kort tunnel vil kunne gi kavitasjonsproblemer og redusert effekt og mere støy.

Minimum anbefalt tunnellengde er 2 x tunneldiameter. For kort tunnel vil kunne gi kavitasjonsproblemer og redusert effekt og mere støy.

Puss bort gelcoat og polyester i et ca 12 cm stort område rundt tunnelhullet, slik at glassfiberen ligger bar. Dette gjør du både på utsiden og innsiden av skroget før tunnelen støpes fast.

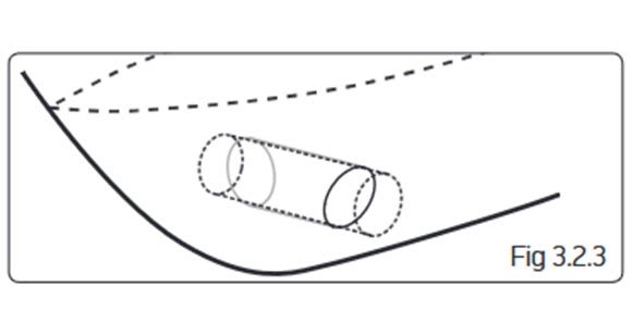
Sett inn tunnelen og merk av den hvor du må kappe den på lengden (fig 3.2.3).

Installasjon er den mest kritiske jobben av arbeidet. Det er viktig at tunnelen monteres og plastres inn riktig i skroget, og at overgang mellom skrog og tunnel er i henhold til produsents anbefalinger. Forkanten av tunnelåpningen skal bygges opp for å avlede vannstrømmen. Da vil du unngå at propell snurrer hele tiden. 

Merk av senter av tunnelen på babord og styrbord side, i henhold til best egnet plassering som beskrevet tidligere. (Fig 3.2.1). Dobbeltsjekk markeringene før du borer et lite hull i sentermarkeringene.

Bruk en stiv wire eller stålstang og bøy den til slik at den tilbakebøyde enden tilsvarer tunnelens radius (Fig 3.2.2). Stikk enden av stangen inn i det lille senterhullet og marker diameteren på hullet du må skjære ut.

Bøy den til slik at den tilbakebøyde enden tilsvarer tunnelens radius (Fig 3.2.2). Stikk enden av stangen inn i det lille senterhullet og marker diameteren på
Sett inn tunnelen og merk av den hvor du må kappe den på lengden

Kapp tunnelen i nødvendig lengde, sett den inn i hullet i skroget. Støp fast tunnelen, først på innsiden av skroget, med glassfibermatter og polyester. Tunnelåpningene bør avrundes slik at avrundingen har en radius som er 10% av tunnelens diameter. Avrundingen vil hindre kavitasjon og gjøre at thrusteren suger vann langs skrogsiden, slik at det oppstår et lavtrykk som vil hjelpe å suge båten i dreieretningen.. Er det skarpe kanter rundt tunnelen klarer ikke thrusteren å suge vann langs skroget.

Pass på at overgangene mellom tunnel og skrog er nøye sammenstøpt. Gelcoat eller lignende må påføres på de områder det har blitt pusset eller støpt, for å gjøre glassfiberen vanntett. Puss innsiden av tunnelen med fint sandpapir for å få primer og bunnstoff til å hefte. Påfør primer og bunnstoff inni tunnelen.
 

Fig 3.4.1 og 3.4.2: Påfør Sikaflex eller annet tetningsmiddel rundt girhusets flens og trykk girhuset med pakning opp igjennom hullet i tunnelen. Støtt girhuset slik at det ikke faller ut. Sjekk at propell vil komme i senter av tunnel og ikke vil komme i konflikt med tunnelen. Påfør Sikaflex eller lignende der brakett skal monteres. Det er viktig at det er en jevn overflate på tunnelen der brakett skal festes, så puss eventuelt ned slik at brakett passer jevnt på tunnelen.
 

Montering av girhus, brakett og propell. Figur 3.3.2
Montering av girhus, brakett og propell. Figur 333.
Montering av girhus, brakett og propell. Figur 334
Montering av girhus, brakett og propell Fig. 341 og fig 342

Skru sammen girhuset og brakett med bolter som følger med thrusteren.

Sett propell inn på akslingen på drivhuset, sett på anode, og skru propell med anode på plass. Sjekk at propell er i senter og har løper fritt i tunnelen. 

Montering av girhus, brakett og propell. Fig. 3.6.3

Marker tunnelens senterlinje og båtens senterlinje på tunnelen. Legg mal eller brakett på senterlinjene og merk av dens posisjon slik at propell havner i midten av tunnel. Merk av hullene som skal bores i tunnel, normalt et for girhusets og to for festebolter (Fig 3.3.3 og 3.3.4).

Montering av elektromotoren. Fig. 3.9.2
Montering av elektromotoren fig. 3.9.1

Vri aksel i elektromotoren og på girhuset slik at motorens drivpinne korresponderer med sporet i girhusets aksel (fig 3.9.1). Påfør marinefett på girhusets aksel.

Skyv motoren forsiktig på plass på braketten og juster hullene for best egnet installasjon. Bolt fast motoren til braketten. 

Elektrisk installasjon
Vi anbefaler at kobler baugpropellen til et eget batteri, og at du monterer en egen hovedstrømbryter på baugpropellens plusskabel slik at du kan slå av strømmen på propellen uavhengig av resten av det elektriske anlegget. Turtallet og skyvekraften til baugpropellen bestemmes av volten som kommer frem til den ved kjøring, så det er viktig å bruke kabler som er store nok (med riktig kabelkvadrat) og et batteri med god kaldstarteffekt. Produsent oppgir normalt i brukermanual hvilket kabelkvadrat du skal bruke ved ulike lengder kabelstrekk, og minimum batterikapasitet.
En treg sikring av god kvalitet som tåler strømtrekket til elektromotoren i minimum 5 minutter monteres på plusskabelen. 
Betjeningspanel tilkobles thruster i henhold til produktets manual.
Se ellers produktets manual for korrekt elektrisk installasjon.


Vedlikeholdstips
Årlig sjekk:
•    Det er sannsynlig at det vil komme en del groe i tunnel og på propell, så vi anbefaler jevnlig sjekk av tunnelen. Fjern all groe fra tunnel, propell og girhus, og påfør nytt bunnstoff på tunnel, propell og girhus
•    Sjekk anode og erstatt den ved behov. Byttes helst hver sesong, må byttes hvis mer enn halvparten av anoden er tæret bort
•    Sjekk at propellen sitter godt festet. Bytt propellen hvis den er skadet eller sterkt forurenset
•    Inspiser motor og sjekk at alle ledninger er intakte, og at alle tilkoblingspunkter er rene og godt festet
•    Sjekk alle bolter og mutter er festet med riktig moment
•    Sjekk at det er tørt og rent der baugpropell er montert. Tett lekkasje hvis det er vann i skottet.

Feilsøking
Baugpropellen går feil vei:
-    Ledninger fra solenoid/betjeningspanel koblet feil, sjekk og rett opp


Sikring slår ut hele tiden:
-    Feil sikringsstørrelse montert, sjekk og bytt. 
-    Propell blokkert og gir for stor belastning på motor – undersøk og fiks

Dårlig skyvekraft eller propellen skyver kun en retning:
-    For liten batterikapasitet, eller batteri ikke ladet. Batterikabler er for tynne. Sjekk at thruster får nok spenning under drift. Skal ha 10V spenning (avhenger av modell) i et 12V system
-    Blokkering/groe i tunnel eller propell. Slå av hovedstrøm, undersøk og fjern eventuell blokkering og groe
-    Propellskive montert feil
-    Sjekk at børstefjærene ligger riktig mot børstene


Motor går men ingen skyvekraft
-    Brytepinne defekt. Sjekk og erstatt med ny brytepinne om nødvendig
-    Propellens blader er defekt. Bytt ut med ny propell


Baugpropell bråker og vibrerer
-    Sjekk at propell ikke går imot tunnelveggene
 

Salg
Thomas
18.03.26

Informasjon er hentet fra Lewmar monteringsmanual 

 

Sjekkliste etter montering
-    Sjekk at alle bolter og muttere er strammet til
-    Sjekk at propell er riktig monter og mutter strammet til og at propell kan dreies rundt
-    Sjekk at motordeksel er på plass
-    Sjekk at motor brakett er riktig montert og riktig fastmontert til tunnel

Baugpropell

Baugpropell

Se vårt store utvalg av baugpropeller her

Baug- og hekkthruster
Min side