Skip to main content
Til toppen

Toalett i båt

Hvordan installere et marint toalett i båten?

Marinetoaletter kan installeres i motor- og seilbåter, over eller under vannlinjen. Avfallet ledes til en septiktank som så tømmes via pumpestasjon på land eller i sjøen. Sjekk lokale regler i ditt område før du tømmer septik over bord.

GENERELLE MONTERINGSANVISNINGER

Tilkoblinger gjennom skrog: Du trenger en skroggjennomføring, en kuleventil og 19mm slangestusser for spylevannsinntaket og en skroggjennomføring, kuleventil og slangestusser 25mm eller 38 mm for utløpet (ved tømming i sjøen). Begge kranene må monteres slik at de alltid befinner seg under vannlinjen selv når båten er i bevegelse. Viktig! Bruk kun gasstette septikslanger og to rustfrie slangeklemmer på alle koblinger.

Antihevert: Hvis toalettkanten noen gang er mindre enn 20 cm over den høyeste mulige vannoverflaten (under alle forhold av krengning, lasting eller trimming) og er koblet til en aller annen skroggjennomføringskobling må korrekt plasserte og ventilerte/luftede sløyfer (antihevert) monteres ved inntaks- (hvis koblet til sjøvann) eller utløpsslangene for å hindre eventuelt tilbakeslag av sjøvann inn i båten. Ventilerte sløyfer må være utstyrt med en intern tilbakeslagsventil som slipper luft inn i slangen for hindre hevertfunksjon. OBS: Hvis du ikke gjør dette kan det føre til oversvømmelse.

Ved bytte av toalett mens båten er i sjøen, husk å stenge alle stoppekraner før du begynner på arbeidet.

Montasje
Finn ut om vanntilførselen til toalettet skal være ferskvann eller sjøvann, over eller under fartøyets vannlinje, og følg deretter de passende instruksjoner for montasjen. Du må velge rett installasjonsmetode for innløpet og utløpet i forhold til om toalettet monteres over eller under vannlinjen.

Toalett montert under vannlinje:

For å unngå at sjøvann renner inn via innløpet og fyller toalettet må du montere en antihevert med lufting og lage en svanehals på slangene. Strekk inntaksslangen strakeste veien inntakskranen til spylepumpens innløpskobling. Ta bort den hvite slangen som er montert på toalettet mellom spylepumpens utløp til toalettskålens vinkelrør. Vri vinkelrøret på toalettet slik at det peker oppover. Erstatt den hvite slangen med en lengre lengde 19mm septikslange og plasser den slik at den er minst 20 cm over høyeste mulige og monter antiheverten på høyeste punkt. Gjør det samme med utløpsslangen (38 mm antihevert).

Toalett under vannlinjen

Toalett montert over vannlinje:

Monter en 19mm tilbakeslagsventil nærmest inntakets kuleventil for å sikre at det står vann i pumpen til enhver tid. Led utløpsslangen opp fra toalettets utløpsbend, minst 30 cm ovenfor utløpsbendet, monter deretter en antihevert med lufting øverst på slangen slik at det forblir vann i toalettet.

Toalett over vannlinjen

Tømming til tank


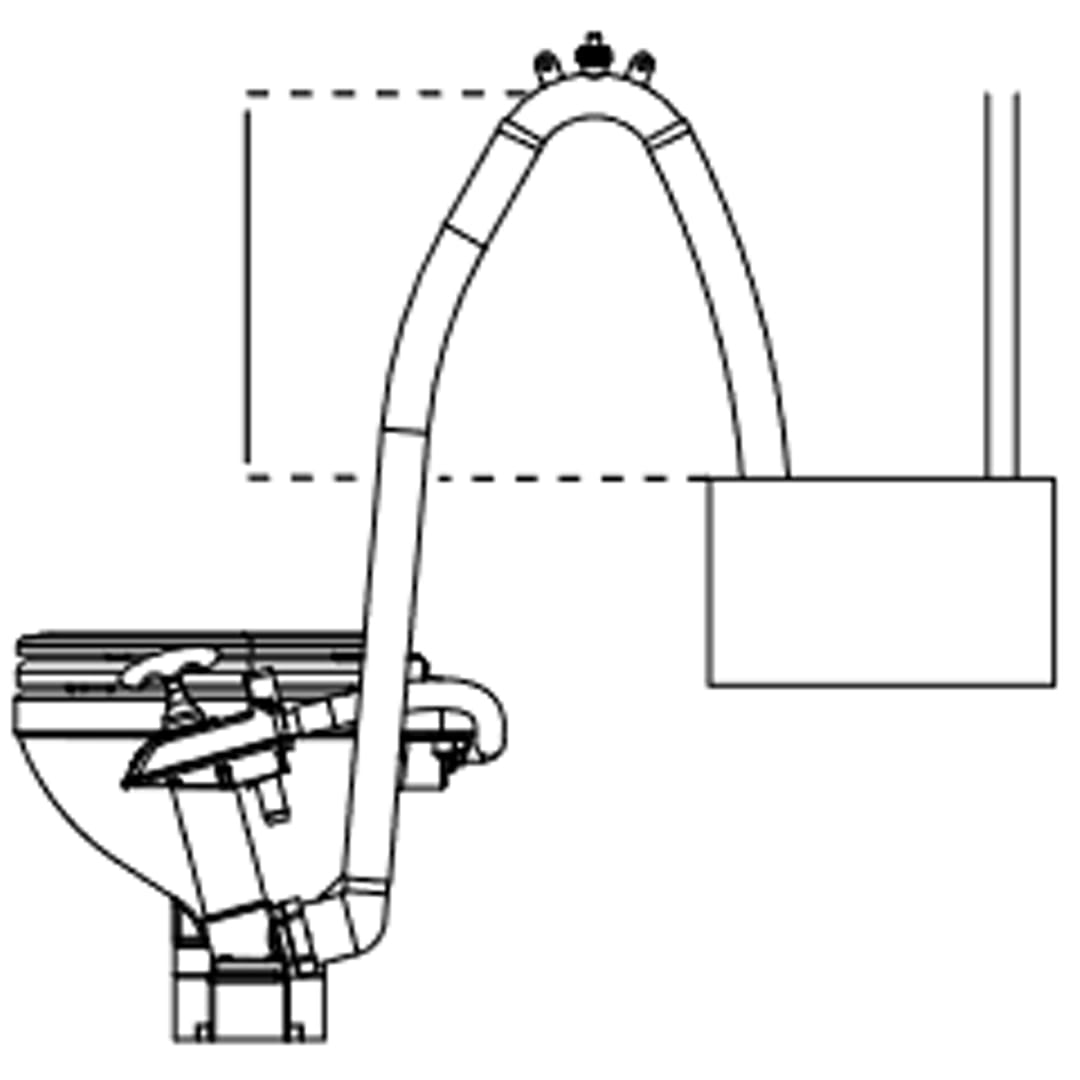
Tank høyere enn toalett:
Dersom utløpets vinkelrør på toalettet er mindre enn 20 cm ovenfor tankens øverste del til enhver tid eller om det er mulighet for at utløpets vinkelrør kan befinne seg nedenfor tankens øverste del ved noe tilfelle, må du montere en antihevert med lufting på slangen mellom toalett og tank. La slangen gå opp minst 20 cm over høyeste nivå på tankens øverste del og installer antihevert med lufting på høyeste punkt.

Utløpets vinkelrør er nedenfor tankens øverste del

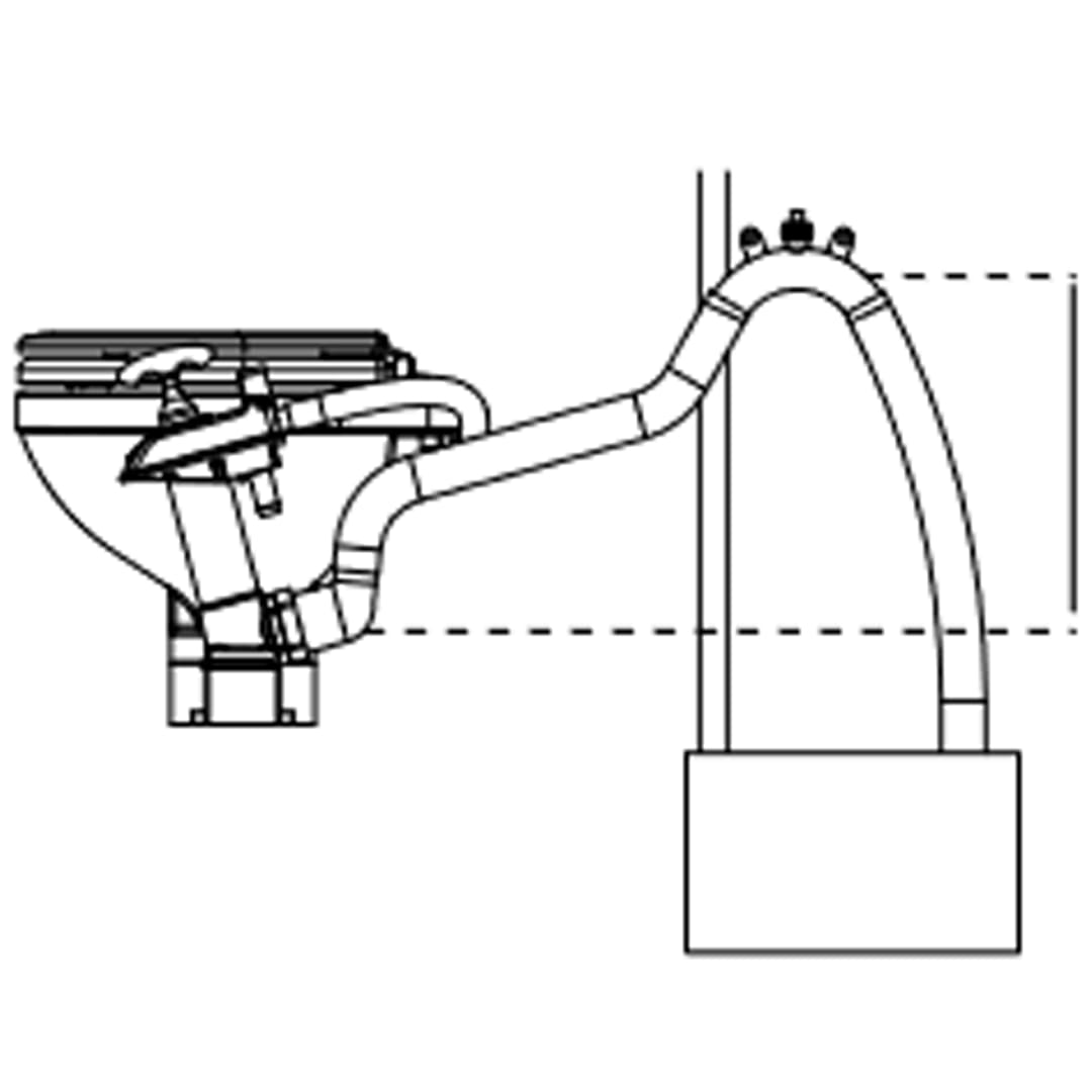
Tank lavere enn toalett:

Dersom utløpets vinkelrør alltid befinner seg over tankens høyeste punkt, led utløpsslangen opp fra utløpets vinkelrør for å forme en svanehals som er minst 30 cm høyere enn vinkelrøret, og monter en antihevert med lufting på slangens høyeste punkt. Da sikrer du at det alltid er noe vann igjen i skåla.

Utløpets vinkelrør er over tankens øverste del

Systemoppsett for tømming av tank ved pumpestasjon

 

 

Tank over vannlinjen

Tank under vannlinjen

*Dersom septiktanken er under vannlinjen må det monteres en antihevert med lufting på utløpet slik at vann ikke kan ta seg inn i tanken.

For tømming av tanken via pumpestasjoner på land må det monteres en dekksforskruvning av typen Waste ISO 8099-1, som er tilpasset sugeslangen på land.


NB! Du må også ha en lufteslange på minimum 19 mm på tanken så den ikke suges flat. Bruk også her en gasstett septikslange.


NB! Bruk kun gasstette septikslanger.

Dette vil hindre at ammoniakklukt fra urinen siver ut igjennom slangen. Bytt ut slangene etter ca 5-7 år.

Dekksforskruvning Waste ISO 8099-1 38mm Forkrommet
  • ISO 8099-1 - for pumpestasjoner
  • Forkrommet messing
  • 38 mm

  • ISO 8099-1 - for pumpestasjoner
  • Forkrommet messing
  • 38 mm
250.C
3030-30
På nett:  
Septikslange 3/4'' 19mm Hvit CE-Merket
  • For septiktanklufting
  • 19 mm innvendig
  • Gasstett

  • For septiktanklufting
  • 19 mm innvendig
  • Gasstett
SANIPOMP/W - Ø 19 mm - Mt 30,5
19030-05
På nett:  

Elektrisk vs manuelt toalett


Et elektrisk toalett er enklere i bruk, da det bare er å trykke på en spylebryter for å skylle ned. El. toalett bruker mere vann pr spyling enn et manuelt toalett og fyller så ledes opp tanken noe raskere. Det er også mere støy fra spylepumpen på elektriske toaletter, og om det spyles ned noe annet enn toalettpapir og avføring er faren for blokkering større. Toalettet må tilkobles strøm, her finnes både 12V og 24V versjoner, og installasjonen krever litt mer arbeid enn installasjon av manuelt toalett.

Hvordan unngå vond lukt fra toalettsystemet?

Lukt fra slanger og rør:
Vond lukt fra toalettsystemet kan ha flere årsaker, men ofte er årsaken at sjøvann som benyttes for spyling av toalettet blir liggende i bukter og bøyer på slangene. Sjøvann inneholder levende organismer, salter, alger etc. Når dette kommer i kontakt med luft begynner det å råtne og denne prosessen skaper en svært ubehagelig lukt. Et godt tips er å ofte skylle igjennom med ferskvann så ofte som mulig. Om mulig, la septikslangen gå så rett som mulig fra toalett til tank, uten for mange bøyer og bend hvor vann kan bli liggende.

Det finnes også sanitærvæsker du kan bruke for å motvirke dårlig lukt og fjerne og forebygge forkalkninger i toalett og slanger.

Toalettrens Purytec
  • For skyllevannet
  • Forhindrer dårlig lukt
  • Renser og desinfiserer

  • For skyllevannet
  • Forhindrer dårlig lukt
  • Renser og desinfiserer
1.0602.00534.00000
6030-03
På nett:  
Outlet
Eco Clean WC blokk -kit m/refill
  • Wc blokk m/4 stk refill
  • Fjerner forkalkning i fartøy på farten
  • Et grønt biologisk nedbrytbart renseprodukt

  • Wc blokk m/4 stk refill
  • Fjerner forkalkning i fartøy på farten
  • Et grønt biologisk nedbrytbart renseprodukt
WC blokk
6020-11
På nett:  

Lukt fra septiktank

Lukt fra septiktanken skyldes ofte dårlig eller feil nedbryting av avfallet i tanken på grunn av tett eller mangelfull lufting. Bruk kullfilter på lufteslangen til tanken, og bytt dette hvert år. Sørg for at luftingen ikke går tett. Rengjør lufteslangen ofte, gjerne ved å spyle igjennom med vann. OBS! Kullfilter tåler ikke vann, så fjern dette før spyling av lufteslangen. Sanitærvæske på tanken vil redusere dårlig lukt, men om utluftingen er dårlig vil det bli luktproblemer.

 

Viktig!

Bruk riktig toalettpapir og ikke bruk toalett som en søppelbøtte. Husk at det kun er avføring og lettoppløselig toalettpapir som skal i toalettet. Spyler du ned noe annet enn dette er faren for blokkering stor.

Unngå bruk av for mye papir, og bruk kun lettoppløselig toalettpapir som er beregnet spesielt for marine- og campingtoaletter.

 

Thetford Toalettpapir 4pk
  • Mykt
  • Lett oppløselig
  • For marine- og campingtoaletter

  • Mykt
  • Lett oppløselig
  • For marine- og campingtoaletter
202240
6020-72
På nett:  

Glenn
Salgssjef
30.09.2025

STORT UTVALG AV TOALETTER

STORT UTVALG AV TOALETTER

SE HER
Min side