Skip to main content
Til toppen

Sleipner thruster EB90/185S 12v

  • Reimdrift
  • 6,5kW/8,8hk
  • 185 mm tunnel
EB90/185S-12V
Lager nettbutikk:
Varenr.: 13001-79
Sleipner
inkl. mva.

Sidepower thruster EB90/185S 12v

Kompakt reimdrevet baugpropell uten olje og anode, med spesilautviklet reversibel DC-motor.
Girhus/motorbrakett i sjøvannsbestandig rustfritt stål. Kulelagre på propellaksel. 4-blads propell i komposittmateriale.

Baugpropellen har liggende motor og propellen er reimdrevet som betyr enklere og mer kompakt montering. Fraværet av olje og sinkanode gjør den praktisk talt vedlikeholdsfri.

  • Elektronisk tidsforsinkelse forhindrer motorskade ved rask retningsendring
  • Thrusteren stopper automatisk ved overoppheting (slår seg automatisk på etter nedkjøling)
  • Brytepinne på propellaksel beskytter gir og motor hvis propell blir blokkert
  • Integrert microprosessor føler hele tiden på releet, reduserer slitasje og risk for "heng" på rele. Thrusteren vil stoppe automatisk om det oppstår "heng" på releet, eller om thrusteren går kontinuerlig i 3 minutter.
     

Spesifikasjoner
Minimum startkraft batteri: 500 CCA DIN
Skyvekraft ved 10,5V: 90 kg
Båtstørrelse (fot): 39’-50’
Tunell diam (mm): 185
Propellsystem: Enkel
Effekt ved 10,5V (kw/hk): 6,5/8,8
Nominelt strømtrekk: 115A
Vekt (kg): 17
12V

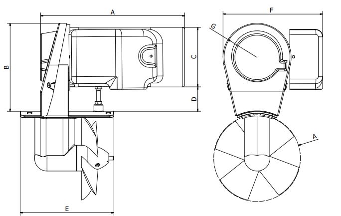
Målskisse:

A: 310 mm
B: 150 mm
C: 130 mm
D: 50 mm
E: 200 mm
F: 210 mm
G: 75 mm
H: 185 mm

Lenker
Min side